网友提问:真空开关灭弧的原理是什么?能详细说明一下吗? 大禹答复:您好。熄灭电弧是需要灭弧室的,可以说灭弧室是真空开关的心脏,而真空开关主要利用高真空来熄灭电弧并维持极间绝缘。在绝对...
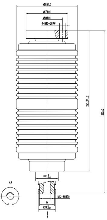
型号:VITD12/1600-31.5
类型:户内断路器用真空开关管
品牌:大禹汉光(Dayu Hanguang)
产地:湖北孝感
厂家:湖北大禹汉光真空电器有限公司
价格:面议/电询

| 主要技术参数 | ||
| 电压参数 | ||
| 额定电压(Ur) | kV | 12 |
| 额定短时(1min)工频耐受电压(Ud) | kV | 48 |
| 额定雷电冲击耐受电压(峰值)(Up) | kV | 85 |
| 额定频率(fr) | Hz | 50 |
| 电流参数 | ||
| 额定电流(lr) | A | 1250/1600 |
| 额定触头压力下限时的回路电阻 | μΩ | ≤20 |
| 额定短路开断电流(lsc) | kA | 31.5 |
| 额定短路开断电流开断次数 | Times | 30 |
| 额定短时耐受电流(lk) | kA | 31.5 |
| 额定短路持续时间(tk) | s | 4 |
| 额定峰值耐受电流(Ip) | kA | 80 |
| 额定短路关合电流(lIMc) | kA | 80 |
| 额定电缆充电开断电流(Ic) | A | 25 |
| 额定单个电容器组开断电流(lsb) | A | 400 |
| 额定背对背电容器组开断电流(lbb) | A | 400 |
| 机械参数 | ||
| 运动部分质量 | kg | ≤1.3 |
| 触头自闭力 | N | 120±50 |
| 额定开距下的触头反力 | N | 190±60 |
| 对开关机械特性需求 | ||
| 触头开距 | mm | 11±1 |
| 平均分闸速度(触头闭合位置~75%开距) | m/s | 1.0±0.25 |
| 平均合闸速度(30%开距~触头闭合位置) | m/s | 0.6±0.15 |
| 额定触头压力 | N | 3100±200 |
| 触头初压力 | 2200±150 | |
| 触头合闸弹跳时间 | ms | ≤2 |
| 触头合闸和分闸不同期 | ms | ≤1 |
| 分闸触头反弹幅值 | mm | ≤3 |
| 寿命 | ||
| 储存期 | years | 20 |
| 机械寿命 | Times | 10000 |
| 触头允许磨损厚度 | mm | 3 |
7×24小时服务热线 15971259985